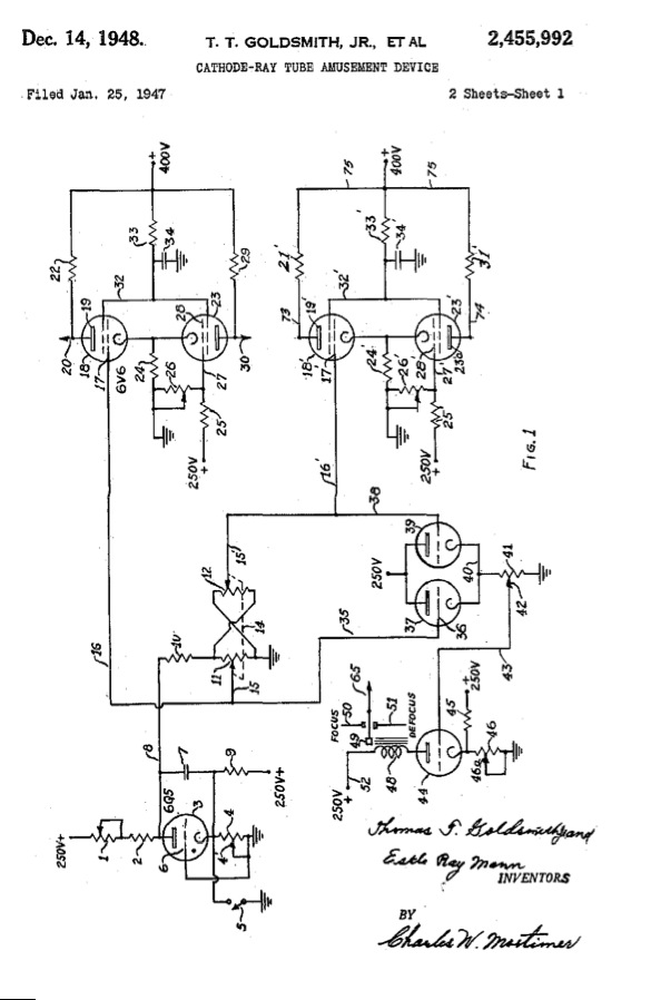
Thomas T. Goldsmith Jr. and Estle Ray Mann ont imaginé et construit le premier « jeu électronique » : « Cathode-ray Tube Amusement Device » qu’on pourrait traduire par « système de divertissement à tube cathodique ».
Il remplisse une demande de brevet le 25 janvier 1947. Il leur sera accordé le 14 décembre 1948.
« Inspirés par ces recherches et marqués par le contexte de la guerre, Goldsmith et Ray Mann inventent un jeu de tir dont le but est de détruire des cibles. Pour atteindre l’objectif, le joueur fixe les conditions initiales du tir, donc la trajectoire du missile. Une sorte de Shoot Them Up avant l’heure. Pour être tout à fait exact, les inventeurs définissent ainsi le principe du jeu : « Le joueur doit ajuster les boutons de contrôle, dans un intervalle de temps déterminé, pour qu’une trajectoire parabolique du faisceau lumineux, partant de la position du tireur, touche une cible sélectionnée ou un avion, et explose sur la cible. » Le joueur détermine l’angle de tir et la vitesse du missile à l’aide d’une série de boutons. » (Source muséogames)

